
THỜI GIAN LÀM VIỆC
9:00AM - 21:00PM
(Kể cả Thứ 7 & Chủ Nhật)
Telegram: t.me/didongmy
Trên các flagship Android ở thời điểm hiện tại có khả năng zoom hết sức ấn tượng nhờ trang bị ống kính tiềm vọng. Trong khi iPhone của Apple kể cả iPhone 12 vẫn chỉ hỗ trợ khả năng zoom quang 2.5x. Tuy nhiên, trong tương lai điều này có thể sẽ thay đổi khi mới đây "Táo khuyết" vừa được một cấp bằng sáng chế về camera mới.
Bằng sáng chế này cho thấy các model iPhone trong tương lại, có khả năng là iPhone 14 series trình làng vào năm 2022 sẽ được tích hợp thêm ống kính tiềm vọng. "Folding Camera" là tên gọi bằng sáng chế mới của Apple, nó đã được chấp thuận bởi Văn phòng Sáng chế và Nhãn hiệu Hòa Kỳ.

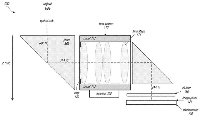
Dựa trên mô tả cho thấy, gã khổng lồ công nghệ Mỹ đang làm việc để trang bị mô-đun máy ảnh gồm nhiều ống kính và một thiết bị di động. Điều này hứa hẹn mang đến khả năng nhiếp ảnh tốt hơn cho người dùng. Bên trong mô-đun máy ảnh sẽ chứa 2 linh kiện, giúp bẻ cong ánh sáng giống như lắng kính và 1 hệ thống thấu kính độc lập giữa 2 bộ phận này.
Bên cạnh đó, nó còn mang đến khả năng tự động lấy nét và công nghệ chống rung quang học nhờ hệ thống thấu kính di chuyển độc lập với lính kiện giúp bẻ cong ánh sáng. Các thành phần thấu kính khúc xạ trong nhóm thấu kính cũng được Apple lựa chọn hình dạng, chất liệu và cách sắp xếp. Đồng thời cung cấp độ dài tiêu cự trở lại đủ dài để thích ứng với lăng kính thứ hai nhằm mang lại hình ảnh có độ phân giải và chất lượng cao.
Thông tin cũng tiết lộ thêm rằng, bằng sáng chế mới có thể sẽ được sử dụng cho các model ra mắt năm 2022. Nếu Apple phát triển thành công thì rất có thể các mẫu iPhone 14 sẽ có khả năng zoom lại 10x và 100x ấn tượng. Đây là điều chắc hẳn được các iFan mong đợi trong thời gian qua, hãy cùng chờ xem nhé!
>> Phát hiện tính năng xịn xò trên iPhone 14 hứa hẹn đánh bại mọi đối thủ
>> iPhone 13 chưa ra mắt, hình ảnh mới về iPhone 14 đã bắt đầu xuất hiện
Didongmy.com