
THỜI GIAN LÀM VIỆC
9:00AM - 21:00PM
(Kể cả Thứ 7 & Chủ Nhật)
Telegram: t.me/didongmy
Theo nguồn tin rò rỉ từ chuyên gia rò rỉ Ming-Chi Kou thì trên thế hệ iPhone 2022 sẽ không còn sự xuất hiện của notch tai thỏ. Trong khi các model Android khác đã loại bỏ phần notch này cách đây nhiều năm, nhưng "Táo khuyết" vẫn giữ lại cho đến thế hệ iPhone 12 series. Phần notch tai thỏ này là nới chưa cảm biến mắt trước (máy chiếu chấm, camera hồng ngoại, đèn chiếu sáng, Face ID).

Apple có khả năng sẽ thay thế notch tai thỏ bằng thiết kế màn hình đục lỗ, mặc dù hiện tại vẫn chưa rõ các cảm biến sẽ được di chuyển đến đâu. Có thể phần cảm biến này sẽ được đặt trong một notch nhỏ hơn hoặc được thu nhỏ và đặt cùng với camera selfie để tạo ra một lỗ bấm dài. Thậm chí có thể gã khổng lồ công nghệ Mỹ sẽ đi trước các nhà sản xuất Android khi tích hợp camera ẩn dưới màn hình cho các model iPhone 14.
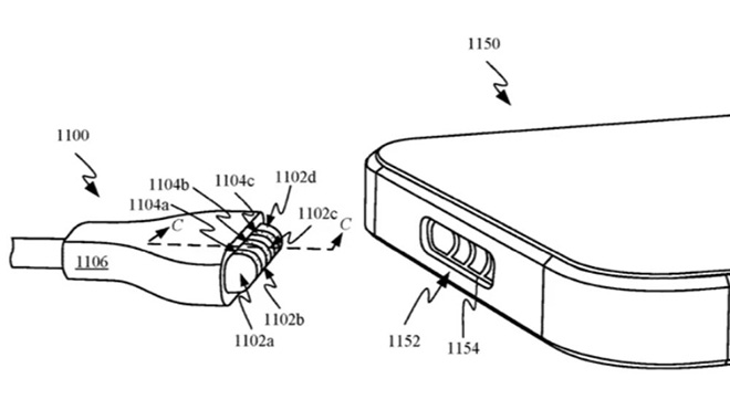
Bên cạnh iPhone 12 series thì Apple còn giới thiệu đến bộ sạc không dây MagSafe khá tiện lợi và được đánh giá cao. Được biết MagSafe là bộ sạc sử dụng cho dòng MacBook như một bộ sạc riêng. Tuy nhiên theo các bằng sáng chế rò rỉ gần đây cho thấy bộ sạc này sẽ được sử dụng trong các thiết bị iPhone của Apple, có thể là iPhone 14.

Cách thức hoạt động của bộ sạc MagSafe trên iPhone cũng sẽ giống với MacBook là cắt từ tính vào đáy iPhone 14 và dễ dàng lấy ra. Điều này có nghĩa là cáp Lightning trên iPhone 14 sẽ được loại bỏ. Đây là lẽ là thời điểm mà Apple lựa chọn loại bỏ giải pháp sạc có dây đối với thiết bị iPhone trong tương lai của mình.
Apple đã trang bị cho tất cả biến thể iPhone 12 series công nghệ kết nối 5G hiện đại mang đến tốc độ truy cập nhanh hơn. Tuy nhiên đối với biến thể iPhone SE giá rẻ không được hỗ trợ 5G, đây là một thiếu sót cho các điện thoại iPhone 2020. Tuy nhiên, trong năm 2022 Apple đang có kế hoạch hỗ trợ kết nối 5G cho các thiết bị iPhone của mình.

Apple sẽ tiếp tục ra mắt nhiều phiên bản iPhone 14 gồm: iPhone 14 tiêu chuẩn, iPhone 14 Pro và iPhone 14 Pro Max. Tuy nhiên việc biến thể iPhone 14 mini có được ra mắt không vẫn còn là một ẩn số, bởi iPhone 12 mini đã không nhận được nhiều sự quan tâm từ người dùng. Nếu như Apple thực hiện một số nâng cấp trên điện thoại nhỏ gọn này thì có lẽ nó vẫn sẽ được giữ lại.
Theo như kỳ vọng của người dùng thì giá iPhone 14 mini sẽ khởi điểm khoảng 699 USD, iPhone 14 tiêu chuẩn khởi điểm 799 USD, iPhone 14 Pro khởi điểm khoảng 999 USD, iPhone 14 Pro Max khởi điểm 1.099 USD. Tất nhiên đây là mức giá dự kiến và nó có thể thay đổi nếu như Apple mang đến nhiều đột phá hơn. Hãy cùng chờ đợi xem nhé!
>> Bắt đầu từ iPhone 13 series, Apple sẽ nâng cấp 'khủng' cho camera iPhone
>> Kuo tiếp tục hé lộ iPhone 13 sẽ có notch tai thỏ nhỏ gọn, màn hình 120Hz và pin lớn hơn
Didongmy.com