
THỜI GIAN LÀM VIỆC
9:00AM - 21:00PM
(Kể cả Thứ 7 & Chủ Nhật)
Telegram: t.me/didongmy
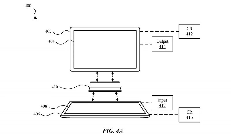
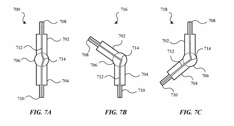
Tạm dịch tiêu đề của bằng sáng chế là "module nhiều màn hình thiết bị điện tử" được nộp lên Cục thương hiệu và bản quyền sáng chế Hoa Kỳ. Theo đó bằng sáng chế giải thích rằng khi hai chiếc iPad hoặc iPhone kết nối qua phụ kiện thì một trong hai sẽ được dùng làm màn hình và cái còn lại sẽ là bàn phím. Apple hình dung phụ kiện này sẽ có hai đầu kết nối và phần bản lề gập, hai thiết bị di động sẽ gắn vào mỗi đầu kết nối và dữ liệu sẽ truyền qua lại để cả hai cùng hoạt động đồng nhất như một hệ thống. Việc sử dụng sử dụng màn hình thứ hai để làm bàn phím sẽ đem đến nhiều giải pháp độc đáo hơn, như có thể dùng màn hình thứ hai làm Touch Bar với cảm ứng phản hồi xúc giác. Cả hai màn hình đều có thể sử dụng cảm biến tiệm cận để có thể tắt máy khi gập hai chiếc iPad hoặc iPhone lại với nhau. Mặc dù ý tưởng này giống như thiết bị hai màn hình rất thú vị, nhưng không nhiều trong số các bằng sáng chế được đưa vào nghiên cứu và phát triển.


Nguồn: Macrumors